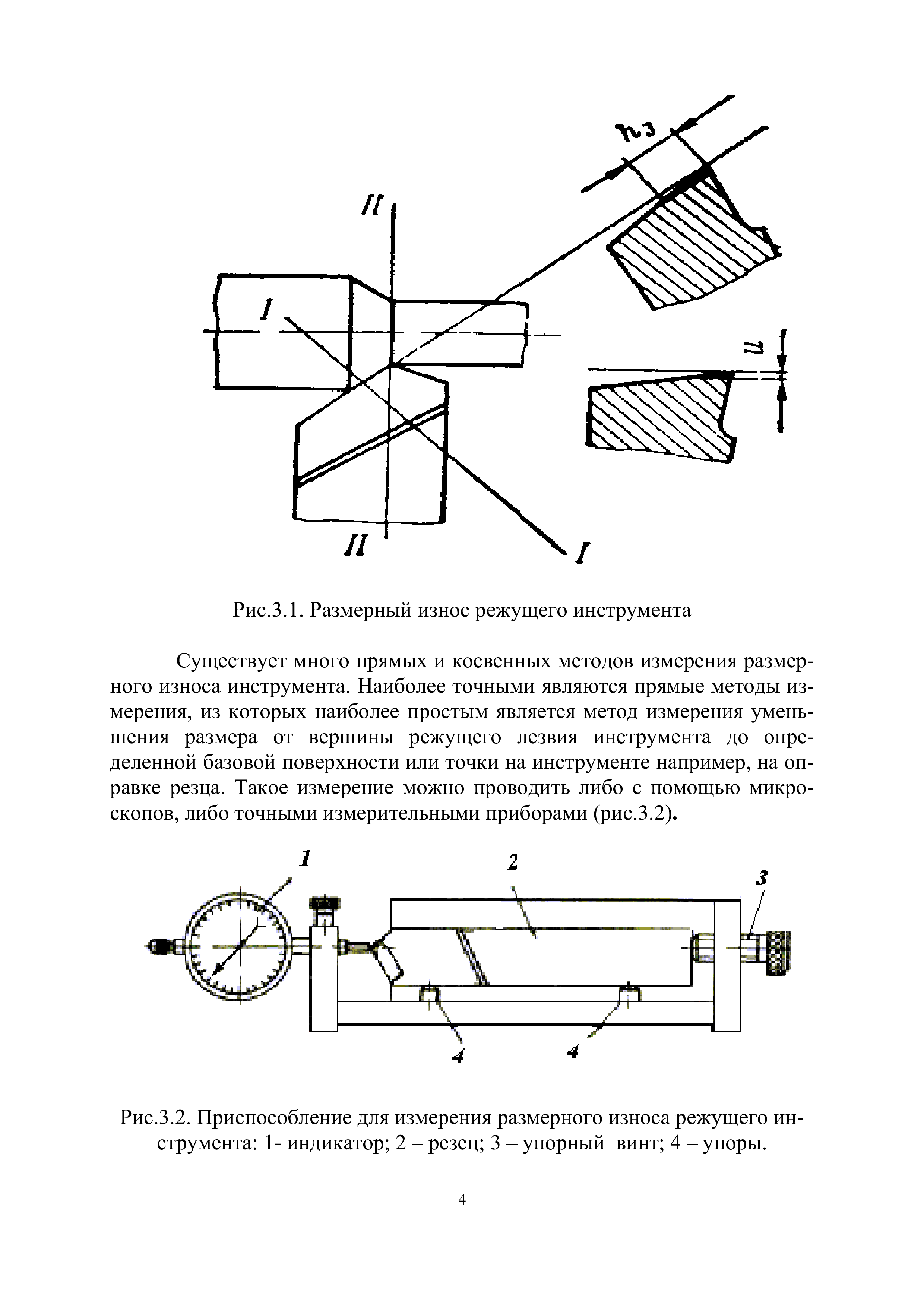
"Технологическая зависимость точности обработки от размерного износа режущего инструмента: Методические указания к лабораторной работе по дисциплине ''Основы технологии машиностроения''" - читать интересную книгу автора (Парфенов В.Д., Шаходанов Ю.И.)
|